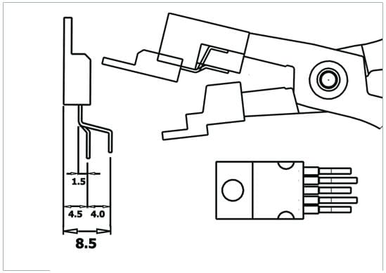
Special tool designed to form the TO220 component leads (5 leads). It forms leads 1-3-5 at a pitch of 4 mm and leads 2-4 at a pitch of 1.5 mm.
Steel thickness 5 mm. Tool length 158 mm.
ESD-safe handles. Grip model St.
Special tool designed to form the TO220 component leads (5 leads). It forms leads 1-3-5 at a pitch of 4 mm and leads 2-4 at a pitch of 1.5 mm.
Steel thickness 5 mm. Tool length 158 mm.
ESD-safe handles. Grip model St.