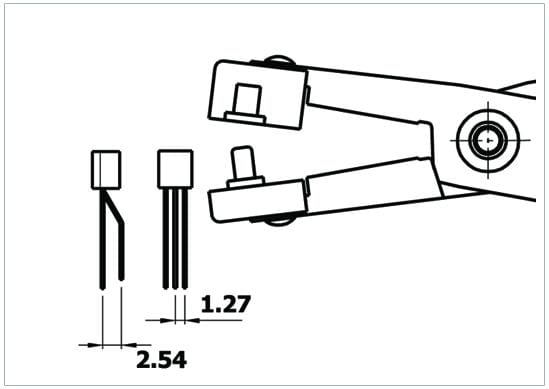
Special pliers designed to form the central lead of TO92 at a pitch of 2.54 mm.
Steel thickness 5 mm. Tool length 158 mm.
ESD-safe handles. Grip model St.
Special pliers designed to form the central lead of TO92 at a pitch of 2.54 mm.
Steel thickness 5 mm. Tool length 158 mm.
ESD-safe handles. Grip model St.