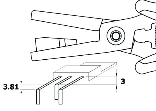
Special pliers designed to bend the TO220 component leads to 90° in one step, in such a way that the central lead is 3.81 mm shorter than the side leads. The forming length can be adjusted using the adjustable stop (min. 3 mm).
Steel thickness 5.5 mm. Tool length 155 mm.
ESD-safe handles. Grip model St.



