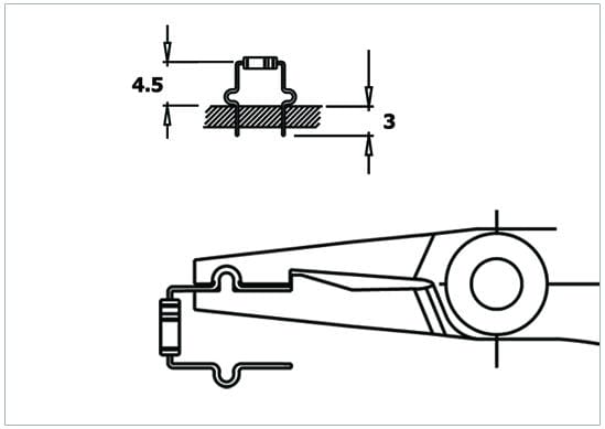
Pliers that form the component leads in a C-shape and cut off the residual part. Residual lead length 3 mm.
Steel thickness 3 mm. Tool length 150 mm.
ESD-safe handles. Grip model St.
Pliers that form the component leads in a C-shape and cut off the residual part. Residual lead length 3 mm.
Steel thickness 3 mm. Tool length 150 mm.
ESD-safe handles. Grip model St.