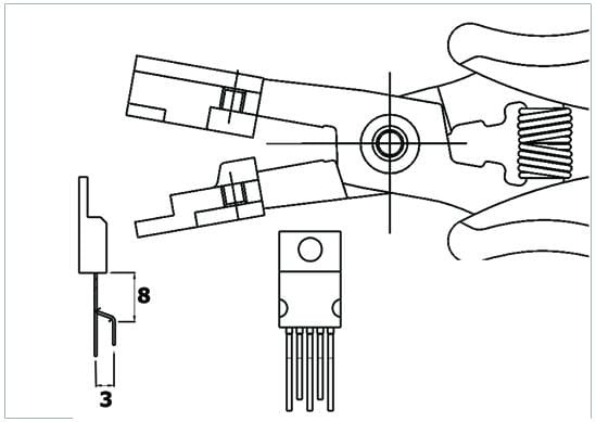
Utensile speciale studiato per la preformatura dei gambini 2-4 a passo 3mm del componente TO220 (5 gambini).
Spessore acciaio 5mm. Lunghezza utensile 158mm.
Versione ESD. Manico tipo St.
Utensile speciale studiato per la preformatura dei gambini 2-4 a passo 3mm del componente TO220 (5 gambini).
Spessore acciaio 5mm. Lunghezza utensile 158mm.
Versione ESD. Manico tipo St.